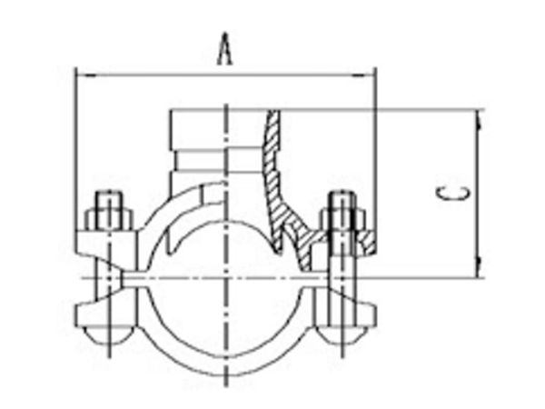
Mechanical tee grooved outlet consist of upper and lower plates, a gasket, and bolts/nuts, providing a simple and fast method for branch connection. The self-sealing structure of the gasket ensures permanent sealing. During field operations, mechanical tees can be precisely installed on the pipeline to ensure the accuracy of the branch outlet connection.
Mechanical tee grooved outlet provides an additional grooved outlet in existing piping.
For new construction, using of a mechanical tee eliminates the need for reducing tees.
The mechanical tee may be easily converted into a cross when necessary.
Mechanical tee grooved outlet are suitable for grooved piping systems, such as fire protection systems and sprinkler piping systems.




| Nominal Size | Pipe OD. | Hole Dia | Dimensions | Bolt Size | |||
| mm/in | mm/in | A mm | B mm | C mm | D mm | ||
| 50x25 / 2x1 | 60x33.7 / 2.375 x 1.33 | 38 / 1.496 | 118 / 4.65 | 74 / 2.91 | 68 / 2.68 | 40 / 1.57 | M10x55-2 | 
| 50x32 / 2x1 1/4 | 60.3x42.4 2.375 x 1.660 | 45 / 1.77 | 118 / 4.65 | 74 / 2.91 | 68 / 2.68 | 40 / 1.57 | M10x55-2 | 
| 50x40 / 2x1 1/2 | 60.3x48.3 2.375 x 1.900 | 45 / 1.77 | 118 / 4.65 | 74 / 2.91 | 68 / 5 2.7 | 40 / 1.57 | M10x55-2 | 
| 65x25 / 2 1/2x1 | 73x33.7 / 2.874 x 1.33 | 38 / 1.496 | 132 / 5.197 | 74 / 2.91 | 75 / 2.953 | 47 / 1.850 | M12×70-2 | 
| 65x32 / 2 1/2x1 1/4 | 73x42.4 / 2.874 x1.660 | 51 / 2.01 | 132 / 5.197 | 84 / 3.31 | 75 / 2.953 | 47 / 1.850 | M12×70-2 | 
| 65x40 / 2 1/2x1 1/2 | 73x48.3 / 2.874 x 1.900 | 51 / 2.01 | 132 / 5.197 | 84 / 3.31 | 75 / 2.953 | 47 / 1.850 | M12×70-2 | 
| 65x32 / 2 1/2x1 1/4 | 76.1 x42.4 3.000x1.660 | 51 / 2.01 | 135 / 5.31 | 84 / 3.31 | 78 / 3.07 | 48 / 1.89 | M 12x70-2 | 
| 65x40 / 2 1/2x1 1/2 | 76.1x48.3 3.000x1 900 | 51 / 2.01 | 135 / 5.31 | 84 / 3.31 | 78 / 3.07 | 48 / 1.89 | M12x70-2 | 
| 65x50 / 2 1/2x2 | 76x60 / 3.000x2.375 | 51 / 2.01 | 135 / 5.31 | 84 / 3.31 | 78 / 3.07 | 48 / 1.89 | M12x70-2 | 
| 80x25 / 3x1 | 89x33 / 3.500x1.33 | 38 / 1.496 | 146 / 5.75 | 74 / 2.91 | 83 / 3.268 | 55 / 2.17 | M12x70-2 | 
| 80x32 / 3x1 1/4 | 88.9x42.4 3.500x1.660 | 51 / 2.01 | 146 / 5.75 | 86 / 3.39 | 85 / 3.35 | 55 / 2.17 | M12x70-2 | 
| 80x40 / 3x1 1/2 | 88.9x48.3 3.500x1 900 | 51 / 2.01 | 146 / 5.75 | 86 / 3.39 | 85 / 3.35 | 55 / 2.17 | M12x70-2 | 
| 80x50 / 3x2 | 88.9 x 60.3 3.500 x 2.375 | 64 / 2.52 | 146 / 5.75 | 96 / 3.78 | 85 / 3.35 | 55 / 2.17 | M12x70-2 | 
| 80x50 / 3x2 1/2 | 88.9x73 / 3.500x3.000 | 64 / 2.52 | 146 / 5.75 | 96 / 3.78 | 85 / 3.35 | 55 / 2.17 | M12x70-2 | 
| 100x25 / 4x 1 | 114x33 / 4.500 x 1.33 | 38 / 1.496 | 178 / 7.01 | 74 / 2.91 | 98 / 3.86 | 69 / 2.72 | M12x75-2 | 
| 100x32 / 4x 1 1/4 | 114.3x42.4 4.500 x 1.660 | 51 / 2.01 | 178 / 7.01 | 86 / 3.39 | 98 / 3.86 | 69 / 2.72 | M12x75-2 | 
| 100x40 / 4x1 1/2 | 114.3x48.3 4.500 x 1.900 | 51 / 2.01 | 178 / 7.01 | 86 / 3.39 | 98 / 3.86 | 69 / 2.72 | M12x75-2 | 
| 100x50 / 4x2 | 114.3x60.3 4.500x2.375 | 64 / 2.52 | 178 / 7.01 | 100 / 3.94 | 98 / 3.86 | 69 / 2.72 | M12x75-2 | 
| 100x65 / 4x2 1/2 | 114.3x73.0 4.500x2.875 | 70 / 2.76 | 178 / 7.01 | 106 / 4.17 | 98 / 3.86 | 69 / 2.72 | M12x75-2 | 
| 100x65 / 4x2 1/2 | 114.3x76.1 4.500 x 3.000 | 70 / 2.76 | 178 / 7.01 | 106 / 4.17 | 98 / 3.86 | 69 / 2.72 | M12x75-2 | 
| 100x80 / 4x3 | 114.3x88.9 / 4.500 x 3.500 | 89 / 3.5 | 178 / 7.01 | 124 / 4.882 | 99 / 3.898 | 69 / 2.72 | M12x75-2 | 
| 125x40 / 5x1 1/2 | 139.7x48.3 5.500x1.900 | 51 / 2.01 | 213 / 8.39 | 86 / 3.39 | 110 / 4.33 | 81 / 3.19 | M16x85-2 | 
| 125x50 / 5x2 | 139.7x60.3 5.500 x 2375 | 64 / 2.52 | 213 / 8.39 | 102 / 4.02 | 110 / 4.33 | 81 / 3.19 | M16x85-2 | 
| 125x65 / 5x2 1/2 | 139.7x76.1 5.500x3.000 | 70 / 2.76 | 213 / 8.39 | 108 / 4.25 | 110 / 4.33 | 81 / 3.19 | M16x85-2 | 
| 125x80 / 5x3 | 139.7x88.9 / 5.500x3.500 | 89 / 3.5 | 213 / 8.39 | 124 / 4.882 | 110 / 4.33 | 81 / 3.19 | M16x85-2 | 
| 150x50 / 6x2 | 165.1x60.3 / 6.500x2.375 | 64 / 2.52 | 238 / 9.37 | 100 / 3.94 | 125 / 4.92 | 95 / 3.74 | M16x 105-2 | 
| 150x65 / 6x2 1/2 | 165 1x73.0 / 6.500x2.875 | 70 / 2.76 | 238 / 9.37 | 108 / 4.25 | 129 / 5.08 | 95 / 3.74 | M16x 105-2 | 
| 150x65 / 6x2 1/2 | 165.1 x 76.1 / 6.500 x 3.000 | 70 / 2.76 | 238 / 9.37 | 113 / 4.45 | 122 / 4.8 | 95 / 3.74 | M16x 105-2 | 
| 150x80 / 6x3 | 165.1x88.9 / 6.500 x 3.5 | 89 / 3.5 | 242 / 9.528 | 128 / 5.039 | 124 / 4.882 | 93 / 3.661 | M16x 105-2 | 
| 150x32 / 6x1 1/4 | 168.3x42.4 / 6.625x1 660 | 51 / 2.01 | 255 / 10.04 | 88 / 3.46 | 123 / 4.84 | 96 / 3.78 | M16x 105-2 | 
| 150x40 / 6x1 1/2 | 168.3x48.3 / 6.625x1.900 | 51 / 2.01 | 255 / 10.04 | 88 / 3.46 | 123 / 4.84 | 96 / 3.78 | M16x 105-2 | 
| 150x50 / 6x2 | 168.3x60.3 / 6.625x2.375 | 64 / 2.52 | 255 / 10.04 | 102 / 4.02 | 123 / 4.84 | 96 / 3.78 | M16x 105-2 | 
| 150x65 / 6x2 1/2 | 168.3x73.0 / 6.625x2.875 | 70 / 2.76 | 255 / 10.04 | 108 / 4.25 | 127 / 5.000 | 96 / 3.78 | M16x 105-2 | 
| 200 x 50 / 8x2 | 219.1x60.3 / 8.625x2.375 | 64 / 2.52 | 310 / 12.2 | 104 / 4.09 | 153 / 6.02 | 124 / 4.88 | M20x 115-2 | 
| 200 x 65 / 8x2 1/2 | 219.1x73.0 / 8.625x2.875 | 70 / 2.76 | 310 / 12.2 | 108 / 4.25 | 153 / 6.02 | 124 / 4.88 | M20x 115-2 | 
| 200x65 / 8x2 1/2 | 219 1 x 76.1 / 8.625 x 3.000 | 70 / 2.76 | 310 / 12.2 | 115 / 4.53 | 152 / 5.98 | 124 / 4.88 | M20x115-2 | 
| 200x80 / 8x3 | 219.1x88.9 / 8.625x3.500 | 89 / 3.5 | 310 / 12.2 | 127 / 5 | 152 / 5.98 | 124 / 4.88 | M20x 115-2 |